Banyak aplikasi di dunia RF yang membutuhkan pensaklaran sinyal RF dan menghubungkannya ke antena berbeda, filter berbeda, maupun melalui penguat sinyal. Salah satu saklar yang umum dipakai adalah relay namun karena menggunakan prinsip mekanis, seiring dengan waktu dapat mengalami kerusakan. Sebagai alternatif dari relay, diperlukan saklar elektronik, salah satu saklar elektronik yang umum dipakai untuk sinyal RF adalah dioda PIN. Artikel kali ini akan membahas dasar-dasar dari dioda PIN.
Dioda PIN vs Dioda PN
Dioda PIN layaknya dioda pada umumnya dapat diberi tegangan positif (forward bias) untuk menyalakan dioda, dan tegangan negatif (reverse bias) atau tanpa tegangan (no bias) untuk mematikan dioda. Dioda pada umumnya terdiri dari semikonduktor tipe-P dan semikonduktor tipe-N, di tempat perpotongan kedua semikonduktor tersebut (junction) terdapat daerah deplesi yang mencegah aliran listrik. Pemberian tegangan positif (forward bias) yang membuat hilangnya daerah deplesi ini sehingga arus dapat mengalir. Untuk frekuensi rendah, yaitu frekuensi power (50Hz/60Hz) ataupun frekuensi audio, dioda PIN dan dioda PN berfungsi serupa.

Prinsip Kerja Dioda PIN
Struktur PIN berbeda dengan dioda pada umumnya yang terdiri dari struktur PN junction. Penambahan lapisan semikonduktor intrinsik antara PN junction membuat adanya penyimpanan muatan di lapisan intrinsik tersebut. Selain itu pada tegangan negatif (reverse bias), efek lapisan intrinsik memperbesar breakdown voltage. Karakteristik PIN diode menyebabkan PIN diode dapat berfungsi sebagai resistor variabel pada saat forward bias dan sebagai kapasitor bernilai rendah pada saat reverse bias untuk sinyal RF. Sinyal RF dan sinyal DC diberikan pada dioda pada saat bersamaan, sehingga saat sinyal RF dapat mengubah kondisi bias DC dari reverse bias ke forward bias dan sebaliknya, lapisan semikonduktor intrinsik sebagai penyimpan muatan dapat mempersulit sinyal RF untuk mematikan/menyalakan dioda.

Resistansi seri pada rangkaian ekuivalen forward bias dioda PIN tergantung oleh besarnya nilai arus DC yang mengalir pada dioda PIN tersebut, umumnya jika nilai arus maksimum dicapai, maka nilai resistansi minimum juga tercapai. Kapasitansi total pada rangkaian ekuivalen reverse bias dioda PIN tergantung oleh kapasitansi junction dan kapasitansi parasitik dari kemasan dioda. Nilai kapasitansi ini yang menunjukkan seberapa baik dioda PIN dapat menahan sinyal RF (isolation) pada kondisi mati.
Rangkaian Dioda PIN
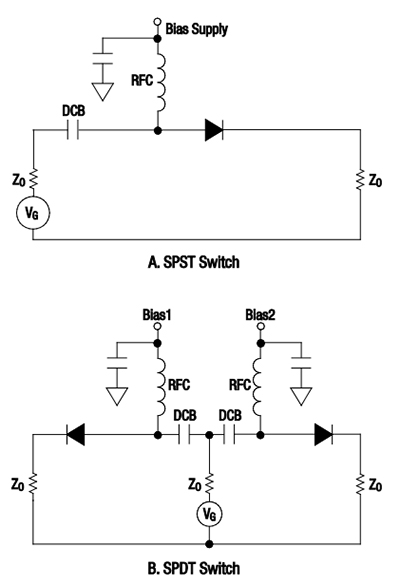
Memadukan sinyal RF dan sinyal DC pada rangkaian dioda PIN dapat dilakukan dengan menggunakan RF choke dan DC blocking capacitor. Rangkaian minimum dari saklar RF dengan PIN dioda adalah seperti pada Gambar 3. DC blocking capacitor memastikan tegangan bias DC tidak mengganggu sinyal RF dan RF choke memastikan sinyal RF tidak mengganggu suplai bias DC. Umumnya dengan RF choke, ditambahkan kapasitor bypass setelah RF choke untuk memastikkan tidak ada sinyal RF yang sampai ke suplai bias DC.

Rangkaian pada Gambar 3 sudah cukup untuk digunakan pada sinyal RF daya rendah, namun jika daya yang digunakan cukup tinggi, diperlukan isolasi pada kondisi off yang lebih baik dan juga kemampuan mengalirkan daya RF pada kondisi on yang lebih baik. Terdapat banyak cara untuk memperbaiki isolasi, yakni menambahkan tegangan negatif DC pada PIN diode untuk memperkecil kapasitansi atau dengan menambah dioda PIN secara seri. Selain itu, untuk mengalirkan daya RF yang lebih tinggi pada kondisi nyala, beberapa dioda dapat dikoneksikan secara paralel agar dapat melewatkan sinyal RF yang lebih besar, karena resistansi ekuivalen dioda PIN yang lebih rendah.
Sumber Gambar:
https://www.digikey.com/en/articles/techzone/2016/dec/how-and-why-to-use-pin-diodes-for-rf-switching
https://www.microwaves101.com/encyclopedias/pin-diodes
Referensi:
https://www.frostburg.edu/personal/latta/ee/qsk5/pindiodes/pindiodes.html
https://link.springer.com/chapter/10.1007/978-1-4615-5751-7_4
https://www.electronics-notes.com/articles/electronic_components/diode/pin-diode.php
Video Relevan: